Подшипники ГОСТ

Показать фильтры
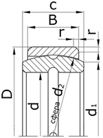
d (внутренний), мм
D (внешний), мм
B (ширина), мм
Сбросить
Сортировать: Показать по:
Показать по: